Twoja przeglądarka nie obsługuje JavaScript!
Ucz się szybciej
Testy
Fiszki
Notatki
Zaloguj
Pytania i odpowiedzi
Informatyka 1
Zebrane pytania i odpowiedzi do zestawu.
Ilość pytań:
10
Rozwiązywany:
2109 razy
Pytanie 1
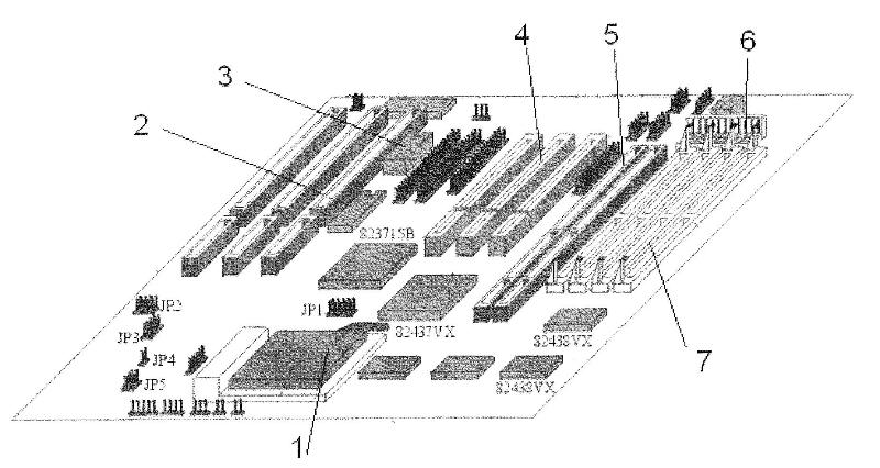
Na rysunku procesor oznaczony jest numerem?
2
Pytanie 2
Na rysumku karta rozszerzeń oznaczona jest numerem??
4
Pytanie 3
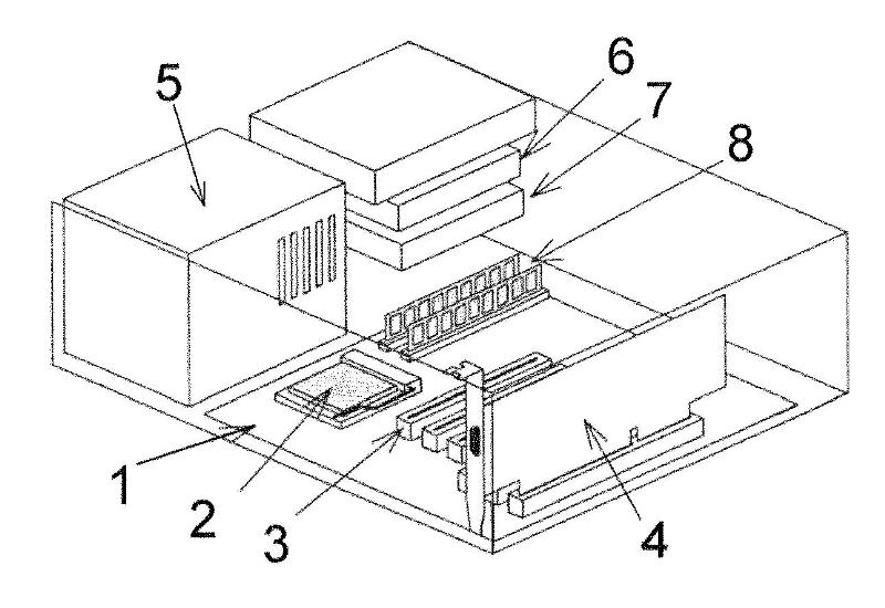
Rysunek przedstawia pamięć
SDRAM DIMM
Pytanie 4
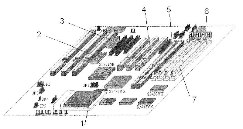
W przedstawionej na schemacie płycie głównej zasilanie należy podłączyć do złącza oznaczonego numerem
6
Pytanie 5
W przedstawionej na schemacie płycie głównej złącze PCI oznaczone jest numerem
4
Pytanie 6
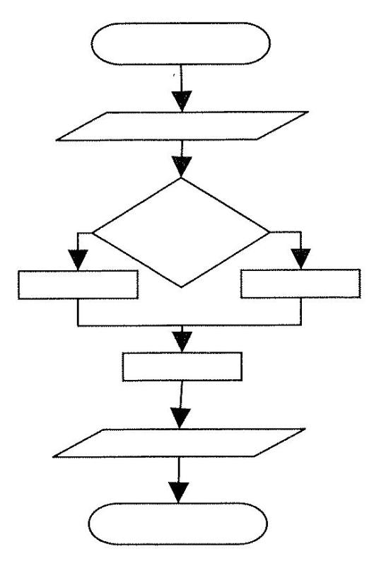
Rysunek przedstawia schemat blokowy algorytmu, na którym liczba bloków decyzyjnych wynosi
1
Pytanie 7
Wypisanie na ekranie zawartości zmiennej char s= " To jest tylko tekst" zostanie wykonane w języku c++ za pomocą instrukcji
cout<
Pytanie 8
Destruktor w języku c++ to metoda
wywoływana w momencie usuwania obiektu
Pytanie 9
Dziedziczenie w programowaniu obiektowym pozwala na
tworzenie nowej klasy na podstawie jednej lub kilku już istniejących klas
Pytanie 10
Instrukcję case t of ... w przedstawionym fragmencie kodu można zastąpić
trzema instrukcjami warunkowymi
Inne tryby
Nauka
Test
Fiszki
Pobierz PDF